Tesla patenta rayo láser para los cristales

Tesla Cybertruck
Tesla Cybertruck
Tesla lleva a la oficina de patentes de Estados Unidos un sistema de limpieza de cristales que funciona por medio de un láser. Por José Virgilio Ordaz.   Mientras la Tesla Cybertruck, su polémico diseño y sus cristales acaparan los titulares, de manera discreta la marca de Silicon Valley visitó la oficina de patentes.

Láser para tesla

Aunque Elon Musk no es especialmente fanático de los escáneres láser conocidos como LIDAR, especialmente después de un accidente que provocó un desencuentro con su entonces proveedor de esta tecnología, es precisamente sobre esto que trata la patente de Tesla.

Semiautónomo

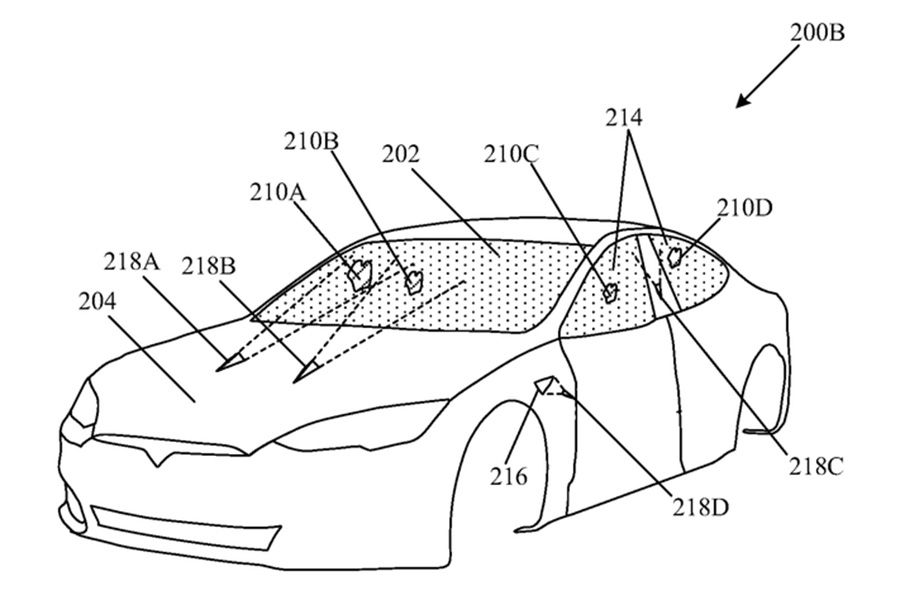
Los láseres se encargarían de limpiar los cristales, especialmente en las zonas donde se encuentran los sensores y cámaras para el sistema de manejo semiautónomo Autopilot de Tesla, lo que reduciría fallos. El láser usaría una cámara (una más) para escanear los cristales.

¡Rashos láser!

De acuerdo con la patente mostrada, los láseres se colocarían sobre el cofre, las salpicaderas delanteras y el poste B. Aunque esto no quiere decir que el desarrollo llegue en breve a las calles, si indica que Tesla podría estar a punto de iniciar pruebas con el láser.

Eficiencia

Actualmente, la limpieza de los cristales, al menos del parabrisas y el medallón en algunos casos, corre por cuenta de los limpiaparabrisas y chorros de agua, un sistema que requiere un mantenimiento periódico. El láser sólo debería revisarse en caso de golpes y sería mucho más eficiente.

Carencias en la Cybertruck

Si son observadores, más allá del diseño cuadrado, la Tesla Cybertruck tenía importantes carencias a lo largo de su carrocería, como retrovisores, manijas o limpiaparabrisas. Aunque los dos primeros ya cuentan con sustitutos efectivos en modelos de calle, los limpiaparabrisas no.

¿Láser en la Tesla Cybertruck?

¿Veremos láseres eventualmente en la Tesla Cybertruck? Aún falta mucho para su lanzamiento formal en 2021, por lo que Musk podría aprovechar el tiempo para ir develando desarrollos tecnológicos que se estrenarán en la camioneta ¿Están listos para la pick-up del futuro?